泵阀知识News Center
泵阀类目展示Product category
热门标签Hot News
[2022-09-07]_氟塑料离心泵发生原因:1.氟塑料离心泵叶轮同心度有偏移.2.氟塑料泵泵轴弯曲.3.氟塑料泵安装松动.4.氟塑料泵管路振动产生共振.5.联轴器未校正或者缺损...[阅读全文]
[2022-09-06]_化工自吸泵是指自吸式离心泵.常用化工自吸泵种类有哪些?主要根据工况环境分为民用的深井水的化工自吸泵(自吸高度30米),含有气体泡沫的气液泡沫化工自...[阅读全文]
[2022-09-01]_防腐自吸水泵 是工业生产中常用的化工泵,防腐自吸泵具有耐酸、耐碱性能和防腐离心泵一样,采用工程塑料材质制造,具有很强的耐腐蚀功能,在化工行...[阅读全文]
0563-5090136
很多用户在使用氟塑料自吸泵的过程中由于自吸泵自身的自吸能力较小导致很难把水吸上来,这时候就需要想办法提高氟塑料自吸泵自吸能力,以下概括以下五种方法,看哪种适合您的工况!

推荐阅读:《衬氟自吸泵安装七大注意事项》
方法一
氟塑料自吸泵在水泵吸水管路上设置真空泵,水泵启动前,真空泵先启动,使水泵吸水管内先布满水,保持水泵自动、迅速启动。
这种吸水方式需要有完善的自动控制系统以保持正常工作。
方法二
氟塑料自吸泵减少进水管道弯道、落差高度和水平间隔。
方法三(麻烦但好用)
氟塑料自吸泵设置泵前吸水罐。这种方式需要在水泵吸水管上设置一个吸水罐,水泵在首次运行前,罐内应人工灌满水,首次运行休止后,由于吸水罐的进水管高度高于管内水面高度,尽管水池内水面高度低于罐内水面的高度,罐内的水也不会倒流,进入水池,所以,吸水罐内能储存一定的水,又由于吸水罐的出水管(即水泵的吸水管)高度低于管内水面高度,故能保持水泵的吸水管内布满水,以后水泵再运行时,水罐内的水被水泵抽走,罐内泛起负压,水池中的水在大气压力的作用下增补到吸水罐内,通过吸水罐水池内的。
方法四
氟塑料自吸泵的吸水管末端安装吸水底阀。吸水底阀实际上是一种止回阀,它保持水流只能由水池进人吸水管而不能倒流,所以假如吸水管内布满水,尽管水泵轴线标高高于水池的工作水位,但因为有吸水底阀的作用,吸水管内的水不会流入水池,可使吸水管内一直都布满水,保持水泵能自动、迅速启动。
将底阀取消,取而代替的是一个简单的引水桶,这样就解决了水泵经常抽不上水的问题,很适用。

方法五
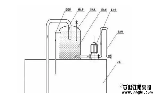
在泵结构上做文章,例如下图 自吸泵是直接将真空叶轮与离心泵结合在一起 。

相似导读:防腐自吸水泵七大安装要点>>>>防腐自吸水泵 是工业生产中常用的化工泵,防腐自吸泵具有耐酸、耐碱性能和防腐离心泵一样,采用工程塑料材质制造,具有很强的耐腐蚀功能,在化工行业中得到广泛应用。因为防腐自吸水...more+

FMB-CSJ耐腐耐磨料浆泵简称“FMB-CSJ料浆泵”,过流部件采用钢衬目前国内新一代耐腐耐磨合金制造。该料浆泵...
详细了解
IHF氟塑料化工离心泵简称为“IHF化工离心泵”是单级、单吸、悬臂式离心泵,IHF化工离心泵泵体采用金属外壳...
详细了解
IHF-JNS氟塑料合金离心泵简称为“IHF-JNS氟塑料合金泵”是单级、单吸、悬臂式离心泵,泵体采用金属外壳内衬...
详细了解
CMB耐颗粒耐腐蚀泵,运用ANSYSICEM+CFD、CFX有限元分析、流体可视化仿真技术设计高性能的水力模型,CMB耐腐蚀泵...
详细了解
很多用户在使用氟塑料自吸泵的过程中由于自吸泵自身的自吸能力较小导致很难把水吸上来,这时候就需要想办法提高氟塑料自吸泵自吸能力,以下概括以下五种方法,看哪种适合您的工况...

龙8国际网站荣获安徽知名
品牌,更放心

多年研发经验
造就稳定产品质量

所有产品初用到报废
一路跟进

泵阀技术支持
7x24小时保障